«EXTRATHERM» ARtec оконный блок двустворчатый с фрамугой сверху
Производители:
Информация
Технические характеристики:
Ширина: 1450 мм
Высота: 2020 мм
Материалы: поливинилхлорид, стекло, пластик
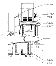
Описание системы: ARtec EXTRATHERM – современная энергосберегающая система, отвечающая самым высоким требованиям по тепло- и звукоизоляции. Профили системы EXTRATHERM относятся к профилям универсального исполнения по ГОСТ 30673-2013, конструкции из профиля этой системы могут использоваться в самых экстремальных условиях, а именно - при максимально возможном солнечном излучении на территории РФ и зимней температуре ниже минус 20°С
Область применения: от - 60°С до +75°С
Толщина стенок: Класс "B"
Монтажная ширина профиля: 70 мм
R пр: 0,8 (м2х0С)/Вт
Возможность установки стеклопакета:толщиной до 42 мм
Возникли вопросы?
+7 495 088 45 71








